患者中心高级查询的操作说明
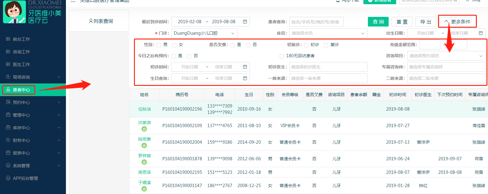
高级查询的入口
患者中心 --> 更多条件

易混淆查询条件说明
- 出生日期时间范围,指出生在过去某个时间范围的人员。比如2000年1月1日~2004年1月1日之间出生的人。
- 生日查询时间范围,指出生在几月几日的时间范围的人员。比如8月1日~9月1日之间出生的人。这里因为日期控件原因,选择的时候可以看到年份,请忽略。
- 180无回访患者,指的是从今天往前推180天里,都没有被回访过的患者。
- 门诊是单选的,因为会员等级和一二级来源是根据选择的门诊动态变化的,如果门诊多选,选择了两个拥有不同会员等级和来源设定的门诊,这块数据无法统一。
案例展示
查询2019年6月份 上海灵石路门诊 主诉种植的 初诊 患者

查询2019年7月份 青岛维乐保利门诊 初诊医生XXX的患者

查询2019年7月份 北京维乐智谷门诊 充值余额在5迁~1万之间的患者

查询2019年1-3月 昆明韩美盘龙门诊 有欠费的患者

查询2019年7月份 重庆维乐江北门诊 今日之后无预约的患者

南昌维乐口腔医院 180天无回访记录的患者明细
